在先使用大于持有商标?“拉手”商标到底属于谁?
来源:网络日期:2019-11-18
北京拉手网络技术有限公司成立于2009年,2010年成立拉手网,是全球首家团购+签到相结合的团购网站。网站成立后在拉手网持续使用“拉手”及拼音“lashou”用于经营。

根据商标网查询,拉手网公司共持有540件商标,包含"LALASHOU“、”拉拉手“、”生活团购“等,其中涉及“拉手”的商标有232件,包括“拉手网”、“拉手团购”、“拉手精品团购”等等,而单纯“拉手”两个字的商标最早注册于2011年4月20日,核定使用于42类,但其实,还有更早注册“拉手”商标的人。

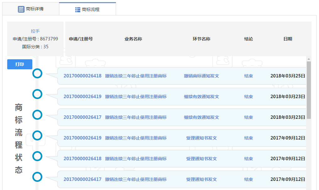
2011年11月7日,周某葆申请注册第8673799号“拉手”商标(下称拉手商标),该商标核定使用在第35类服务类别,包括广告、进出口代理、拍卖、替他人推销、广告代理等。
2014年8月5日,一家名为拉手商贸公司成立,其经营范围包括日用百货、五金产品、办公用品、服装鞋帽等。
2015年2月6日,拉手商贸公司向商标局申请,并于2016年4月14日经核准注册第16333634号“LASHOU”(下称LASHOU拼音商标),使用范围包括广告、替他人采购、计算机网络上的在线广告、为零售目的在通讯媒体上展示商品等35类服务上。

2016年12月6日,经商标局核准,拉手商贸公司受让35类“拉手”商标。

通过以上的时间线可以看出,拉手商贸公司合法持有了拉手商标及LASHOU拼音商标。于是,拉手商贸公司以拉手网公司未经其许可,在拉手网(beijing.lanshou.com)网站显著位置使用“拉手网”+“Lashou.com”字样及三个相套圆形为背景的标识,构成商标侵权为由,将拉手网公司告上法院,要求拉手网公司停止商标侵权、停止使用Lashou.com的域名,公开道歉并赔偿经济损失及合理费用200万元。
拉手网公司认为:
1.拉手网自成立后就在使用“拉手”及拼音“lashou”用于经营,经过该公司使用,“拉手”及“拉手网”在拉手商标申请注册之前已经具有较高的知名度与市场影响力,拉手商贸公司无权禁止该公司继续使用其在先使用的具有一定影响力的商标;
2.拉手网使用的标识、拼音与背景图形与拉手商贸公司的拉手商标、LASHOU拼音商标既不相同也不近似,而且两家公司的经营方式也存在差别,消费者不会将双方服务混淆;
3.原拉手商标注册人对拉手商标的注册系商标抢注行为,拉手商贸公司受让该商标亦存在恶意。拉手商贸公司无证据证明其使用拉手商标,即使其构成商标侵权,拉手商贸公司的经济损失赔偿亦不应得到支持。
从法律上看,拉手商贸公司是拉手商标、LASHOU拼音商标的持有人,这两件商标目前处于注册有效期内,虽拉手网公司曾对其提出“撤三”申请,但商标局审查后根据拉手商贸公司提交的证据已经驳回拉手网公司申请,所以拉手商标、LASHOU拼音商标仍为合法注册商标,受商标法保护。

商标法第五十九条第三款规定,商标注册人申请商标注册前,他人已经在同一种商品或类似商品上先于商标注册人使用与注册商标相同或近似并有一定影响的商标的,注册商标专用权人无权禁止该使用人在原使用范围内继续使用该商标,但可以要求其附加适当区别标识。
法院认为,拉手网公司自2009年9月注册成立以来,在其公司前台使用了显著的拉手网字样作为标识,拉手网公司使用拉手网作为商标在先,截至2010年9月拉手商标申请注册前,拉手网在团购网中已经具有一定影响力。拉手网商标和拉手商标仅一字之差,构成近似商标,但根据商标法第五十九条第三款,拉手商贸公司无权禁止拉手网公司在原有范围内继续使用。
另外,拉手网公司在其网站的lashou.com的域名中的二级域名”lashou”与拉手商贸公司LASHOU拼音商标相同,但拉手网公司使用该域名在LASHOU拼音商标注册前,亦在拉手商标注册前,相关公众登陆域名为lashou.com的团购网站,会清楚地认识到其登陆的是名为拉手的团购网站,而非使用了拉手商标或LASHOU拼音商标的网站,相关公众不会产生误认,拉手商贸公司主张拉手网公司使用该域名构成商标侵权并无事实及法律依据。综上,法院驳回了拉手商贸公司的全部诉讼请求。
(非商业用途,如有侵权,请告知)